Secure Fastening Sekskantboltemballasje er designet for å holde dem organisert og forhindre skade. Disse emballasjeboksene kommer med et mykt fôr som har plass til spor. Boltene sitter i dem head-to-head, så hver sekskantbolt forblir på plass. Dette gjør dem raske å plukke og plassere og forhindrer riper i frakten. For bulktransport pakkes ofte sekskantede bolter med 500 stk per pose. Disse posene legges deretter i innerkasser og forsterkede trekasser for å holde lasten stabil. For kritiske bransjer kan høyspesifiserte emballasjealternativer oppfylle strenge militære standarder. Dette kan inkludere forseglede, fetttette og vanntette poser som beskytter boltene mot korrosjon under lagring og frakt.
Karakteren på en sekskantbolt viser styrken. Disse karaktermerkingene er på boltehodene for enkel identifikasjon. Vanlige ISO-karakterer inkluderer 4.6, 8.8, 10.9 og 12.9. Grade 8.8 er en vanlig middels fast bolt, mens 10.9 og 12.9 er høystyrke og brukes i krevende områder som biler og konstruksjon. ASTM-standarder som A307 og A325 definerer også boltytelse. Å velge Secure Fastening Sekskantbolt med riktig karakter er nøkkelen for sikkerheten, da den sikrer at bolten kan håndtere belastningen uten å svikte.
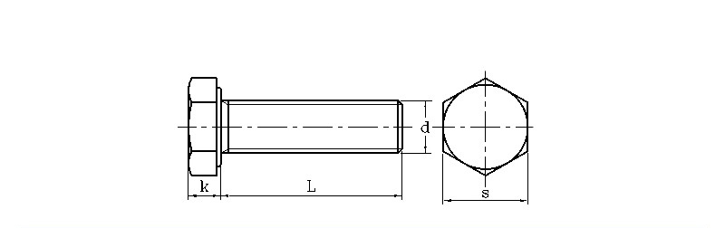
| mm | |||||||
| d | S | k | d | Tråd | |||
| maks | min | maks | min | maks | min | ||
| M3 | 5.32 | 5.5 | 1.87 | 2.12 | 2.87 | 2.98 | 0.5 |
| M4 | 6.78 | 7 | 2.67 | 2.92 | 3.83 | 3.98 | 0.7 |
| M5 | 7.78 | 8 | 3.35 | 3.65 | 4.82 | 4.97 | 0.8 |
| M6 | 9.78 | 10 | 3.85 | 4.14 | 5.79 | 5.97 | 1 |
| M8 | 12.73 | 13 | 5.15 | 5.45 | 7.76 | 7.97 | 1.25 |
| M10 | 15.73 | 16 | 6.22 | 6.58 | 9.73 | 9.96 | 1.5 |
| M12 | 17.73 | 18 | 7.32 | 7.68 | 11.7 | 11.96 | 1.75 |
| M14 | 20.67 | 21 | 8.62 | 8.98 | 13.68 | 13.96 | 2 |
| M16 | 23.67 | 24 | 9.82 | 10.18 | 15.68 | 15.96 | 2 |
| M18 | 26.67 | 27 | 11.28 | 11.7 | 17.62 | 17.95 | 2.5 |
| M20 | 29.67 | 30 | 12.28 | 12.71 | 19.62 | 19.95 | 2.5 |
Kan du forklare materialsammensetningen og korrosjonsbeskyttelsesalternativene for Secure Fastening Sekskantboltene dine?
Vi produserer sekskantboltene våre i forskjellige materialer som lavkarbonstål, sterkere legert stål og rustfritt stål (A2-304 og A4-316). For beskyttelse mot rust tilbyr vi belegg som elektro-galvanisert sink, varmforsinking og Dacromet. Å velge riktig belegg har betydning for hvor lenge bolten varer, spesielt på tøffe steder som byggeplasser eller nær sjøen.
